Распространённые неисправности, возникающие при эксплуатации ВОМ
- Достаточно распространённая проблема при эксплуатации ВОМ «МТЗ-82» – это заедание рычага управления вала, либо трудное, с значительным усилием, управление поводком муфты. Это происходит вследствие неисправности механизма усиления (стакан пружины), или износа кулачковой муфты.
- Посторонние шумы, которые идут по нарастающей, вместе с увеличением передаваемого крутящего момента, а также следы смазки на задней крышке говорят о значительном износе шлицов вала, деталей планетарного редуктора, а возможно — потере эластичности или разрушении манжет.
- Если вал отбора мощности работает непривычно шумно и рывками, то, скорее всего, в негодность пришли шлицевые соединения. Либо сработались (сточились) зубья у центральной шестерни. В этом случае вал выпрессовывается и оценивается состояние шестерни. Потребуется отсоединить задний мост и кулачковую муфту. Если визуальный осмотр показывает значительные зазоры, либо шестерня перемещается совершенно свободно, то ВОМу требуется серьёзный ремонт. После замены вал монтируется на место, и обязательно производится его регулировка.
- Когда трактор «МТЗ-82» не выдаёт требуемой максимальной мощности при работе с навесным оборудованием, то причина этого кроется в ленточных тормозах. Им требуется соответствующая регулировка, либо полная замена. В случаях, когда регулировка не помогает избавиться от такой проблемы, есть необходимость в демонтаже ВОМа с трактора и контроле толщины лент тормозов. Когда толщина уменьшилась до 2,5 миллиметров и ниже, эти изношенные ленты заменяются на новые.
- Хвостовик ВОМа перемещается слишком свободно. Этот признак означает, что натяжение фиксирующей гайки ослабло. Вал отбора мощности требуется снять с трактора «МТЗ-82». Фиксирующую гайку нужно затянуть до упора. И, если есть такая возможность, восстановить резьбу, или «нарезать новую».
- Визуальный осмотр выявляет значительные масляные подтёки на крышке вала отбра мощности. Это обычный признак износа манжеты или прокладки. В подобных случаях ВОМ трактора «МТЗ-82» нужно демонтировать и произвести замену прокладки между крышкой ВОМа и между задним мостом. Если протечка происходит со стороны хвостовика, то надо снимать кольцо стопора, выпрессовывать вал и заменять манжеты.
Во всех случаях, когда для исправления неисправностей вал отбора мощности требуется отделить от трактора, для этого вначале необходимо отвернуть болты креплений задней крышки, а затем ВОМ выпрессовать в сборе с болтами технологическими. После этого нужно убрать тормозные ленты и проконтролировать их толщину. Как уже указывалось, тормозная лента требует замены на новую, если её фактическая толщина составляет менее двух с половиной миллиметров. Обычно о значительном износе тормозных лент свидетельствует продолжение вращения хвостовика вала при выключении ВОМа, а также и неравномерное его вращение.

В любых случаях, когда производились демонтаж или разборка редуктора ходоуменьшителя, требуется осуществить проверку либо регулировку ВОМа. Для этого под ведущие колёса трактора «МТЗ-82» устанавливается домкрат. После чего вал отбора мощности проворачивается, с поочерёдными включениями различных передач. При выполнении подобной операции вал отбора мощности трактора «МТЗ-82» необходимо перевести в синхронный режим. Во время прокручивания зубчатые колёса шестерней должны вращаться свободно.
Источник
Включение КОМ
1. Нажать на педаль сцепления до упора. 2. Рычаг переключения передач установить в нейтральное положение. 3. Установить рукоятку крана управления раздаточной коробкой в нейтральное положение. 4. Нажать и повернуть ручку переключателя КОМ (см. рис. Переключатели КОМ). При этом загорится сигнальная лампа, встроенная в ручку переключателя. Дополнительно в комбинации приборов загорится контрольная лампа, сигнализирующая о включении КОМ
Переключатели КОМ 1 — переключатель КОМ или КОМ лебедки; 2 — переключатель КОМ (для дополнительной КОМ)
5. Включить первую передачу в коробке передач (для привода лебедки) или другую необходимую передачу (для привода других агрегатов). 6. Плавно отпустить педаль сцепления.
Назначение раздаточной коробки
Назначение раздаточной коробки (РК) состоит в распределении передающего усилия между ведущим и дополнительными мостами. Так же раздатка позволяет включать либо выключать ведущий мост и в некоторых случаях понижать или повышать передаточное число и тем самым увеличивать в двое количество существующих передач применяемых для коробки передач машины.

Схема полного привода с раздаточной коробкой передач
Такое вождение особенно важно при движении по хорошей автостраде, раздаточная коробка передач позволяет отключить дополнительный мост, тем самым снимается нагрузка на двигатель, трансмиссию уменьшается расход топлива. Создание раздаточной коробки идёт с начала двадцатого века, когда начинались развиваться гонки на автомобилях по шоссе и в условиях бездорожья. Особенно применение такого агрегата нужно для грузовой техники, где планировалось использование дополнительного осевого моста
Необходимо было как то сбалансировать крутящийся момент между двумя мостами
Особенно применение такого агрегата нужно для грузовой техники, где планировалось использование дополнительного осевого моста. Необходимо было как то сбалансировать крутящийся момент между двумя мостами.
Как только автомобиль попадает в условия бездорожья, то применение раздатки совместно с межосевым дифференциалом помогают двигателю распределить вращающийся момент к мостам в необходимом пропорциональном соотношении веса нагрузки, обеспечивая равномерно колёсам разных мостов вращаться с одинаковой скоростью, тем самым снижается нагрузка в трансмиссии и уменьшается износ механизмов, а главное, автомобиль преодолевает препятствия и движется равномерно в плохих дорожных условиях.
Модификации
Устройство автокрана Галичанин 25 тонн на базе КамАЗ бывает различных моделей, включая:
- КС 55713 — 1
- КС 55713 — 1 В
- КС 55713 — 3
- КС 55713 — 4, 4 В
- КС 55713 — 5, 5 Л, 5 В
- КС 55731 — 4
Отличаются они типом шасси, которые оборудуют модель. Могут использоваться такие шасси: 65115, 43118, 6540, 65222. Также отличается колесная формула, бывает 6х6 и 6х4.
Технические характеристики
Рассмотрим технические характеристики автокрана Галичанин 25 тонн на базе КамАЗ на примере модели КС 55713-1.

| Параметр | Значение |
| Максимальный грузовой момент, т.м | 80 |
| Грузоподъемность максимальная, т/вылет, м | 25/3,2 |
| Длина стрелы, м | 9,7 — 21,7 |
| Длина гуська, м | 9 |
| Максимальная высота подъема крюка, м | |
| — с основной стрелой 21,7 м | 21,9 |
| — с основной стрелой 21,7 м и гуськом 9 м | 30,0 |
| Макс. глубина опускания крюка стрелой 9,7 м на вылете 5,0 м, м | 12 |
| Масса груза, при которой допускается выдвижение секций стрелы, т | 4,0 |
| Скорость подъема-опускания груза, м/мин | |
| — номинальная (с грузом массой до 25,0 т) | 5 |
| — увеличенная (с грузом массой до 6,0 т) | 12 |
| — максимальная (кратность полиспаста 1) | 96 |
| Скорость посадки груза, м/мин | не более 0,3 |
| Частота вращения поворотной части, об/мин | от 0,15 до 1,4 |
| Скорость передвижения крана своим ходом, км/ч | до 60 |
| Размер опорного контура вдоль х поперек оси шасси, м | |
| — при выдвинутых балках выносных опор | 4,2 х 5,6 |
| — при втянутых балках выносных опор | 4,2 х 2,28 |
| Колесная формула базового автомобиля | 6 х 4 |
| Двигатель базового автомобиля: | дизельный |
| — модель | Cummins ISB6.7e4 300 |
| — мощность, кВт | 219 |
| Габариты крана в транспортном положении, м (длина х ширина х высота) | 12 х 2,5 х 3,6 |
| Температура эксплуатации, град. С | от -40 до +40 |
| Нормативный срок службы автокрана, лет | 12 |
Ремонт коробки отбора мощности
Коробку отбора мощности снимают с автомобиля вместе с коробкой передач.
Разборку коробки отбора мощности необходимо выполнить в следующем порядке.
1. Отсоединить нижний конец рычага 1 управления от штока 4 (см. рис.1).
2. Снять ось рычага управления и рычаг, выпрессовать втулку из отверстия рычага
3. Выпрессовать штифт крепления оси 13 ведущей шестерни, выпрессовать ось, снять ведущую шестерню 12 и опорные шайбы, вынуть подшипники ведущей шестерни.
4. Снять шпонку с ведомого вала 9.
5. Снять переднюю крышку 3 и прокладку.
6. Выпрессовать из крышки сальник ведомого вала.
7. Снять заднюю крышку 8 подшипников.
8. Вынуть промежуточный вал 11, выпрессовать передний и задний подшипники блока шестерен промежуточного вала. Раскернить и отвернуть гайку ведомого вала, вынуть ведомый вал и блок шестерен, выпрессовать задний и передний подшипники ведомого вала.
9. Выбить заглушку люка картера.
10. Снять заглушку отверстия под фиксатор.
11. Снять защитный колпак штока.
12. Вынуть шток 4. вилку 7, фиксатор, пружину, вывернуть гайку штока, снять кольцо, шайбу и сальник.
Сборка. Перед сборкой все детали коробки отбора мощности смазать маслом, заливаемым в узел. Резьбовую часть болтов перед постановкой смазать краской. При сборке пользоваться только новыми прокладками и сальниками.
Коробку отбора мощности собирают в последовательности, обратной разборке с учетом следующих указаний.
Подобрать по шлицам ведомого вала скользящий блок шестерен. Подбор должен обеспечить отсутствие ощутимого углового люфта при свободном скольжении блока по валу. Угловой люфт на шлицах не должен превышать 0,08 мм при проверке на радиусе начальной окружности венца с числом зубьев, равным 24.
Завести во внутреннюю полость картера скользящий блок шестерен так, чтобы зубчатый венец с прямыми зубьями располагался со стороны отверстия под фиксатор, а вилка включения передач вошла в канавку блока шестерен.
Задние подшипники промежуточного и ведомого валов устанавливать заподлицо с плоскостью картера.
Внутренние кольца шариковых подшипников ведомого и промежуточного валов запрессовать до упора в торцы буртов на валах. При этом между торцами буртов и колец щуп 003 мм не должен проходить.
Завернутую до отказа гайку крепления подшипника ведомого вала закернить в паз вала.
После установки на шток резинового сальника, металлической шайбы и войлочного кольца завернуть гайку сальника до тугого вращения.
Перед постановкой смазать рабочую поверхность сальника ведомого вала.
Запрессовать сальник в переднюю крышку заподлицо с наружным торцом крышки.
Поставить на пасту СК-ОЦБ заглушку в выточку картера.
Запрессовать в отверстие под фиксаторный шарик заподлицо со стенкой картера заглушку штока.
Запрессовать ось ведущей шестерни в картер заподлицо с плоскостью бобышки. Совместить отверстие в оси и бобышке картера. Перед постановкой оси отверстия в картере смазать пастой СК-ОЦБ. Запрессовать штифт крепления оси заподлицо с торцом бобышки.
Запрессовать втулку в отверстие рычага управления коробкой отбора мощности до упора торца втулки в наружный торец рычага.
Собранную коробку отбора мощности поставить на стенд и испытать без нагрузки на шум, течь масла и легкость переключения.
Перед испытанием коробку отбора мощности заправить веретенным маслом.
Это интересно: Значение кодов ошибок компьютерной диагностики грузовиков камаз евро-4: что необходимо знать
Основные неисправности раздаточных коробок и их причины
Раздаточная коробка является механическим устройством, которое, как и другие механизмы может иметь определённый срок службы, где в период эксплуатации возникают некоторые неисправности. Существует несколько факторов, которые влияют на продолжительность работоспособности РК.
- Конструктивное исполнение.
- Устройство полного привода.
- Режим эксплуатации.
- Техническое обслуживание в указанные сроки.
К часто встречающимся основным неисправностям можно отнести следующие.
- Стуки, гул, вой — последствия износа шестерней и подшипников.
- Сильная вибрация в раздаточной коробке. Может возникать особенно в движении вследствие износа подшипников.
- Подтекание или течь масла. Обычно из-за нарушения герметичности сальников или вследствие других нарушений герметичности стыков в корпусе.
- Сложность во включении или самопроизвольное отключение коробки — износ зубьев шестеренок или муфты, неправильная регулировка.
- Дефект шестерёнок, муфт, фиксаторов. Требуется ремонт, разборка коробки, замена изношенных частей.
- Растяжение цепи коробки в последствии износа.
- При движении возникают рывки, сбои при работе коробки изи сильного растяжения цепи.
- Перегрев или быстрый нагрев муфты с запахом гари масла, резины изи износа сервопривода, фрикционной муфты.
- Возникает неустойчивость работы при нагрузках, поворотах.
- Электронное управление не работает иза выход из строя электромагнита, нет цепи питания, нарушено крепление проводки.
Использование на коммерческих автомобилях
Гидравлический ВОМ, установленный на коробке передач грузовика
Задняя поперечина с гидравлическими разъемами ВОМ и сцепкой на Унимог 421
Трансмиссии для грузовиков иметь одно или несколько мест, позволяющих установить ВОМ
ВОМ необходимо приобретать отдельно, и необходимо соблюдать осторожность, чтобы согласовать физический интерфейс трансмиссии с совместимым ВОМ. Поставщики ВОМ обычно требуют подробные сведения о марке, модели и даже серийном номере трансмиссии
Также необходимо позаботиться о том, чтобы физическое пространство вокруг трансмиссии позволяло установить ВОМ. ВОМ включается / выключается с помощью главной муфты трансмиссии и механизма дистанционного управления, который действует на сам ВОМ. Обычно для включения ВОМ используется воздушный клапан, но также возможны механическое соединение, электрический или гидравлический механизм.
Наиболее Unimogs поставляются с передним и / или задним ВОМ и гидравликой, а также с трехточечной навеской.
Блоки будут рассчитаны в соответствии с постоянным и прерывистым крутящим моментом, который может быть применен через них, и разные модели будут предлагать разные соотношения «вращения вала отбора мощности к оборотам двигателя».
В большинстве случаев PTO подключается непосредственно к гидравлический насос. Это позволяет передавать механическое усилие через гидравлическая жидкость систему в любое место вокруг транспортного средства, где гидравлический двигатель преобразует ее обратно во вращательную или линейную механическую силу. Типичные приложения включают:
- Запуск водяного насоса на пожарной машине или водовозе
- Запуск установленной на грузовике машины для откачки горячей воды для чистки ковров (привод вакуумного нагнетателя и насосов для раствора высокого давления)
- Питание нагнетательной системы, используемой для перемещения сухих материалов, таких как цемент
- Питание интегрированной в автомобиль воздушной компрессорной системы
- Подъем кузова самосвала
- Управление механической рукой на ковшовой тележке, используемой персоналом по обслуживанию электрооборудования или бригадой по обслуживанию кабельного телевидения
- Управление лебедкой на эвакуаторе
- Эксплуатация уплотнителя на мусоровозе
- Эксплуатация стрелы / грейфера
- Управление установленным на грузовике лопата и подъемно-мачтовый монтаж
Разрезной вал
МОМ с разъемным валом установлен на приводном валу грузовика для обеспечения мощности МОМ. Такой агрегат представляет собой дополнительную коробку передач, разделяющую карданный вал автомобиля на две части:
- Вал, обращенный к коробке передач, который передает мощность двигателя на вал отбора мощности с разъемным валом;
- Обращенный к оси вал, который передает тяговое усилие на ось.
Сам агрегат предназначен для независимого переключения мощности двигателя либо на осевой вал, либо на дополнительный выходной вал отбора мощности. Это осуществляется двумя независимыми сцеплениями, такими как зубчатые или собачьи сцепления, которые могут работать только при полной остановке трансмиссии. Поскольку главный редуктор изменяет скорость вращения путем выбора передачи, ВОМ не может работать во время движения. Поэтому для работы автомобиль должен быть неподвижен. На автомобилях 4×4 только задний приводной вал используется коробкой отбора мощности с разъемным валом, поэтому схема привода 4×4 должна соответствовать выбираемый 4WD типа, чтобы приводной вал переднего моста был полностью отсоединен во время работы ВОМ. Также можно подключить что-либо, кроме гидравлического насоса, непосредственно к ВОМ, например, насосы пожарных автомобилей.
Разрезной вал “сэндвич”
Узел с разъемным валом типа «Сэндвич» устанавливается между двигателем и трансмиссией и используется на машинах для обслуживания дорог, пожарных машинах и вездеходах. Этот блок получает привод непосредственно от вала двигателя и может передавать всю мощность двигателя на ВОМ. Обычно эти агрегаты оснащены собственной системой смазки. Из-за типа установки типа «сэндвич» коробка передач будет отодвинута от двигателя, и для ее установки потребуется трансмиссия.
Преимущества КОМ
Использование данного устройства имеет ряд преимуществ. Среди наиболее значимых можно отметить следующие:
- низкий расход топлива;
- отсутствие необходимости установки дополнительного двигателя – что существенно экономит средства и полезное место в автомобиле;
- небольшие габаритные размеры;
- большой срок эксплуатации;
- не влияет на ходовые качества транспортного средства;
- может передавать до 40% энергии вырабатываемой основным агрегатом;
- возможность при необходимости устанавливать до трех устройств разных типов на одну КПП;
- изготавливается из усиленных материалов, что приводит к незначительному износу даже при работе под большими нагрузками.
Несмотря на все достоинства этой системы, следует ответственно относиться к установке КОМ, поскольку в случае некорректно проведенных работ могут возникнуть такие неприятные последствия как:
- повышенное потребление топлива;
- сильные вибрации, которые могут привести к преждевременной поломке деталей КОМ;
- проблемы и сбои в работе гидравлической системы или двигателя.
Также стоит учитывать тот факт, что после модернизации транспортное средство необходимо будет поставить на учет в государственных структурах, поэтому следует работать только с теми СТО, которые могут предоставить весь пакет необходимых документов. К примеру, компания «Гидромаркет» обладает сетью сертифицированных СТО, на которых можно быстро и качественно провести модернизацию транспортного средства с выдачей гарантии на все проведенные работы.
Порядок работы КОМ
Принципиально КОМ похожа на КПП, только намного проще. В ней стоит ведущий вал, с жестко зафиксированной шестеренкой. При включении, она входит в зацепление с ведомой шестерней, посаженной на другой вал (фактически – ВОМ), передающий момент вращения на рабочее оборудование.
Если коробка управляется механическим способом, то шток перемещается с помощью рычага. При наличии пневмоэлектрической системы, в узле должна быть камера, куда подается воздух под давлением. Последний воздействует на диафрагму, соединенную с пружиной, после чего она сжимается, передвигая шток с включающей вилкой. Шестерни входят в зацепление. После стравливания воздуха, пружина распрямляется, шток движется в обратном направлении, шестерни разъединяются.
КОМ способна «забрать» до 40% мощности мотора. Большинство моделей включаются в то время, когда машина неподвижна. Хотя, есть и такие (например, на коммунальной технике), которые работают и при движении агрегата.
Дополнительный привод управления сцеплением

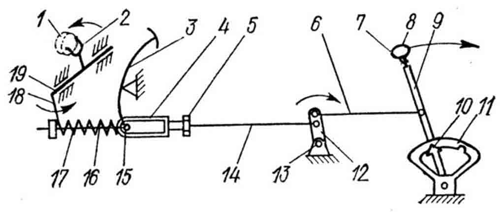
Принципиальная схема дополнительной механической системы управления механизмом сцепления на автоцистерне
1 – выжимной подшипник; 2 – вилка; 3 – педаль; 4 – муфта; 5 – контргайка; 6 – малая тяга; 7 – стержень; 8 – кнопка; 9, 12, 18 – рычаги; 10 – защёлка; 11 – зубчатый сектор; 13 – промежуточная опора; 14 – большая тяга; 15 – ось; 16 – промежуточная тяга; 17 – пружина; 19 – валик
Дополнительная система управления механизмом сцепления предназначена для отключения (включения) пожарного насоса от двигателя шасси. На рисунке показана принципиальная схема механической дополнительной системы управления сцеплением пожарной автоцистерны (применялась на АЦ моделей 63Б и 137А ранних выпусков, ПМ-548 и ряде других).
В насосном отделении пожарного автомобиля установлен рычаг 9 сцепления и зубчатый сектор 11. Для выключения сцепления необходимо нажать пальцем на кнопку 8, которая через стержень 7 выведет из зацепления с зубчатым сектором защёлку 10, а рычаг сцепления перевести в положение «на себя» и зафиксировать его в крайнем заднем положении (по направлению стрелки). При этом переместится малая тяга 6, поворачивая рычаг 12 промежуточной опоры 13 с одновременным перемещением большой тяги 14, на которую навёрнута муфта 4 с прорезью. Далее муфта воздействует через ось 15 педали сцепления и промежуточную тягу 16 на рычаг 18 валика 19 сцепления. Вилка 2 валика действует на выжимной подшипник 1, обеспечивая выключение сцепления. При нажатии в кабине водителя на педаль 3 сцепления нижняя её ось свободно перемещается по прорези муфты 4, не воздействуя на систему тяг дополнительной системы управления сцеплением. Возвращение педали сцепления в исходное положение происходит под действием возвратной пружины 17. Свободный ход педали сцепления регулируют изменением положения муфты 4, установленной на промежуточной тяге. Величина свободного хода педали сцепления должна соответствовать нижнему пределу диапазона, установленного заводом изготовителем шасси. Например, если на автомобиле ЗиЛ-131 величина свободного хода составляет 35…50 мм, то для автоцистерны на этом шасси следует выставить величину свободного хода 35-40 мм (не более). При большей величине свободного хода из-за неизбежных люфтов привода будет происходить неполное выключение сцепления.
Для регулировки длины тяг системы управления сцеплением необходимо рычаг сцепления в насосном отделении поставить в крайнее переднее фиксированное положение, освободить контргайку 5 большой тяги и вращением муфты 4 установить требуемую длину тяг. При переводе рычага сцепления в крайнее заднее положение добиться такого положения, чтобы при нажатии на педаль сцепления её свободный ход был в пределах требуемой величины. При переводе рычага сцепления в крайнее заднее фиксированное положение сцепление должно быть полностью выключено так, чтобы при работающем двигателе и включённой КОМ карданный вал к насосу не вращался. По окончания регулировки контргайки затянуть.
Вывод по вопросу: для удобства работы на пожарных автомобилях предусмотрен дополнительный привод сцепления.
Виды и свойства литых дисков
Все легкосплавные колесные диски можно разделить на две большие группы: литые и кованные.

Название «литой диск» говорит о том, что деталь изготавливается из сплавов легких металлов методом литья. Основным материалом для изготовления литых дисков является алюминий. Однако иногда встречаются колеса отлитые на основе магния.
Упрощенно, процесс изготовления можно представить так:
- В металлоплавильной печи готовится плавка с набором металлов и добавок;
- Затем расплавленная масса заливается в специальные формы;
- После этого выполняется финишная механическая обработка отлитой заготовки;
- На последнем этапе на поверхность диска наносится лакокрасочное покрытие для его защиты от коррозии.
Кованые диски производятся по другой технологии: заготовка металла из лёгкого сплава разогревается и подвергается обработке давлением в специальном прессе, то есть штамповке или ковке.
Для изготовления каждого вида кованного диска нужен свой отдельный штамп, что обходится достаточно дорого. Поэтому выбор моделей кованых легкосплавных дисков несколько беднее, чем у их литых аналогов.
Достоинства литых дисков
Самым очевидным преимуществом литых дисков является их привлекательный внешний вид. Машина, оснащенная “литьем” смотрится богаче и солиднее. Эта аксиома относится как к кованым моделям, так и к литым дискам.

Литые диски гораздо легче стальных штампованных аналогов сопоставимого размера. К примеру, вес 13-дюймового колесного диска варьируется в следующих пределах:
- стальная штамповка – 8 кг,
- легкосплавный диск – 6 кг,
- кованый диск – 5 кг.
При использовании литых дисков снижается нагрузка на подвеску, уменьшается момент инерции при замедлении, улучшается динамика разгона, а колесо быстрее возвращается в первоначальное положение при езде по выбоинам.
Недостатки литых дисков
Среди главных недостатков литых дисков следует отметить их хрупкость. При сильном ударе диск не деформируется, а трескается или образуются сколы. Большинство таких повреждений не поддаются ремонту.
Кованые диски наиболее прочные, однако, при сильном ударе в область колеса вся мощь обрушивается на детали подвески, выводя их из строя. Так что ремонт подвески, рулевого механизма и приводных валов, в итоге может обойтись дороже, чем замена колесного диска.
Неприятным моментом при езде на всех видах “литья” может стать нарушение балансировки колес. Происходит это чаще всего по двум причинам:
- Так как балансировочные грузики приклеиваются к внутренней поверхности диска, то они довольно часто отклеиваются.
- При езде по бездорожью и грязи в лучах модных легкосплавных дисков застревает липкая дорожная масса. Даже при высыхании она не отстает от поверхности диска, нарушая балансировку колеса.
Основной рекомендацией по эксплуатации литых дисков будет бережная езда по разбитой дороге, особенно на низкопрофильной резине
Также требуется проявлять внимательность и осторожность при парковке вблизи бордюров и ребристых столбиков. Литые диски предназначены для хороших машин и отличных дорог
Схема включения ком КАМАЗ | КАМАЗ
КПП на автомобиле камаз (схема переключения) для подписчиков
Обзор салона и органов управления КАМАЗ 65221 )))
Самосвал Камаз 55111 подъем кузова
КАМАЗ 43101 УПРАВЛЕНИЕ-ПРИБОРЫ
Кабина КАМАЗ 43118 ( часть 2 )
Коробка передач ZF на камазе 6520 . Расположение и переключение передач.
коробка отбора мощности
Проводка на КАМАЗе. Часть 2. В кабине.
Переключение раздатки камаза 4310
Будни Камазистов : Делаем музыку , преобразователь напряжения с 24 на 12 вольт….
Также смотрите:
- Переделка бортовых КАМАЗов в самосвал
- Шнекоротор на базе КАМАЗа
- Замена масла в редукторе заднего моста КАМАЗ
- Кабина для КАМАЗа элекон
- Блок двигателя КАМАЗ 4310
- Бумажная модель КАМАЗа 54115
- Каковы габариты КАМАЗа
- Помпа на трактор КАМАЗ
- КАМАЗ 20 тонники самосвалы
- Мой КАМАЗ идет хоть гололед
- Пищевые цистерны КАМАЗ
- Переделка бортовой на самосвал КАМАЗ
- Почти 200 человек ликвидируют последствия аварии поезда и КАМАЗа
- КАМАЗы для етс2
- Тосол КАМАЗ объем
Главная » Хиты » Схема включения ком КАМАЗ kamaz136.ru





































